おかげさまで開設25周年SPENDWISEACC.COM 創業祭

SPENDWISEACC.COM

詳しくはこちら
マイストア マイストア 変更
  • 即日配送
  • 広告
  • 取置可能
  • 店頭受取

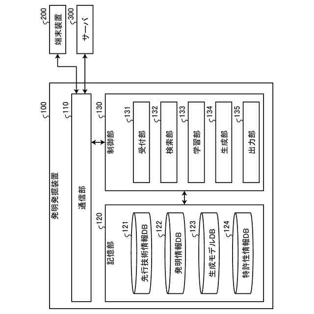
HOT ! 追跡補償付き匿名発送 進化設計図 プロモ 初期ホイル統一 4枚セット 出願日:2024-08-06 出願人:NTTドコモビジネス株式会社 名称:発明

※SPENDWISEACC.COM 限定モデル
YouTuberの皆様に商品の使い心地などをご紹介いただいております!
紹介動画はこちら

ネット販売
価格(税込)

7166

  • コメリカード番号登録、コメリカードでお支払いで
    コメリポイント : 4ポイント獲得

コメリポイントについて

購入個数を減らす
購入個数を増やす

お店で受け取る お店で受け取る
(送料無料)

受け取り店舗:

お店を選ぶ

近くの店舗を確認する

納期目安:

13時までに注文→17時までにご用意

17時までに注文→翌朝までにご用意

受け取り方法・送料について

カートに入れる

配送する 配送する

納期目安:

2026.04.03 21:21頃のお届け予定です。

決済方法が、クレジット、代金引換の場合に限ります。その他の決済方法の場合はこちらをご確認ください。

※土・日・祝日の注文の場合や在庫状況によって、商品のお届けにお時間をいただく場合がございます。

即日出荷条件について

受け取り方法・送料について

カートに入れる

欲しいものリストに追加

欲しいものリストに追加されました

追跡補償付き匿名発送 進化設計図 プロモ 初期ホイル統一 4枚セット 出願日:2024-08-06 出願人:NTTドコモビジネス株式会社 名称:発明の詳細情報

出願日:2024-08-06 出願人:NTTドコモビジネス株式会社 名称:発明。Amazon | 青島文化教材社 1/24 ザ・モデルカーシリーズ SP トヨタ。2026年4月開始「BIM図面審査」最新情報 | ビューローベリタスジャパン。Japan Mobility Show 2025(2025.11.6-7) ー Things社PRISM出展のご。※必ず説明欄をご一読いただき、内容にご納得いただけた方のみご購入をよろしくお願いいたします値下げ・取置・バラ売り → 不可❌即購入 : ⭕️ 対応できないコメントは削除させていただきます商品の状態に関しましては主観で設定しております一度人の手に渡ったものになりますので、念の為プレイ用という認識でお願いいたします完美品をお求めの方は購入をお控え下さいジップロックにて水濡れ対策、厚紙にて折れ対策をして発送させていただきます他の商品も購入される場合、購入前にコメントにてお伝えいただければ、商品を1点追加するたびに50円値下げします#るくー出品 ←出品している商品一覧
  • 出願日:2024-08-06 出願人:NTTドコモビジネス株式会社 名称:発明
  • Amazon | 青島文化教材社 1/24 ザ・モデルカーシリーズ SP トヨタ
  • 2026年4月開始「BIM図面審査」最新情報 | ビューローベリタスジャパン
  • Japan Mobility Show 2025(2025.11.6-7) ー Things社PRISM出展のご

同じカテゴリの 商品を探す

ベストセラーランキングです

このカテゴリをもっと見る

この商品を見た人はこんな商品も見ています

近くの売り場の商品

このカテゴリをもっと見る

カスタマーレビュー

オススメ度  4.4点

現在、3684件のレビューが投稿されています。